
Phát minh này giống như đến từ các tác phẩm khoa học viễn tưởng, tuy nhiên thiết bị không được thiết kế để ngăn cản các loại đạn hoặc laser.
Thay vào đó, khi được lắp đặt trên một chiếc xe, trường bảo vệ này sẽ phát hiện một vụ nổ ở gần, sau đó làm nóng không khí và hơi nước nằm ở giữa xe và vụ nổ.
Nhiệt năng này tạo thành một lớp lá chắn dày hơn không khí, qua đó bảo vệ xe khỏi bị ảnh hưởng bởi chấn động từ quả bom.

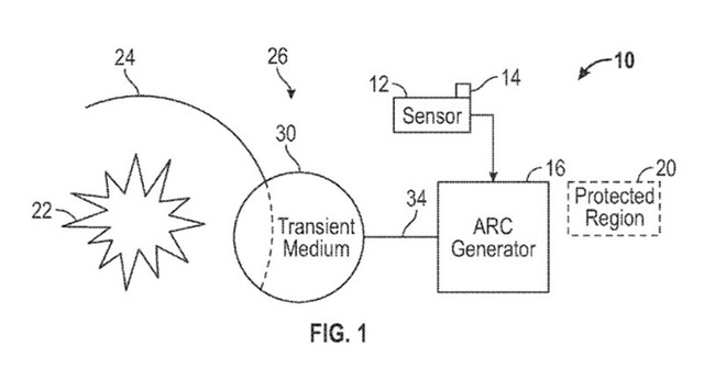
Sơ đồ trên do Boeing cung cấp cho thấy các bộ phận của hệ thống trường bảo vệ.
Bộ cảm biến (số 12) sẽ phát hiện một vụ nổ ở gần, sau đó thiết bị tạo trường bảo vệ (số 16) sẽ làm nóng không khí và hơi nước, tạo thành chất dẫn tạm thời (số 30) nhằm cản sự ảnh hưởng của vụ nổ.

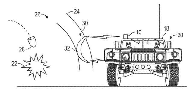
Phát minh của Boeing cũng cho thấy trường bảo vệ có thể được sử dụng với một xe quân sự.

Hình minh họa trên cho thấy một chiếc Humvee có thể lắp đặt một thiết bị để giảm bớt ảnh hưởng của các loại vũ khí nổ như mìn tự chế ở bên cánh cửa xe.
Công nghệ trường bảo vệ của Boeing còn có thể ứng dụng vào những phương tiện quân sự khác. Boeing cho biết, thiết bị này có thể được sử dụng dưới nước cũng như trên cạn, làm nóng khu vực quanh tàu chiến hoặc tàu ngầm để giảm bớt sức công phá của các loại vũ khí nổ.
Nội dung được thực hiện qua tham khảo nguồn tin từ tờ Business Insider, một trang tin công nghệ lớn của Mỹ. Business Insider nổi tiếng bởi các bài viết tổng hợp từ nhiều nguồn tin với các chủ đề nổi trội liên quan đến công nghệ, chính trị, quân sự…
Theo Soha